Проверка датчика оборотов двигателя 1.7 л SDI AHG
Датчик оборотов двигателя G28 является датчиком оборотов, так и положения коленчатого вала. При выходе из строя двигатель работает по аварийной программе, эквивалентным датчиком (датчиком замещения) является датчик хода иглы G80.
Необходимые специальные приспособления, контрольные и измерительные приборы, а также вспомогательные средства:
- Адаптерный кабель (68-контактный) V.A.G 1598/18A или адаптер V.A.G 1598/22;
- Портативный мультиметр -V.A.G 1526C- или мультиметр V.A.G 1715;
- Комплект вспомогательных измерительных средств V.A.G 1594C;
- Электрическая схема.
Порядок проверки:
- Выключить зажигание;
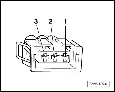
- Отсоединить разъем от датчика оборотов двигателя -G28- ? Обзор мест установки, страница;
- Измерить сопротивление между контактами 2 и 3 разъема;
Заданное значение: 1,0 — 1,5 к.
Если заданное значение не достигнуто:
- Заменить датчик оборотов двигателя G28;
Если заданное значение достигнуто:
- Буквенное обозначение двигателя AGD (с 68-контактным блоком управления);
- Подключить адаптерный кабель (68-контактный) -V.A.G 1598/18A- к жгуту проводов блока управления;
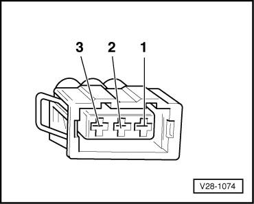
- Проверить проводку между адаптерным кабелем (68-контактный) -V.A.G 1598/18A- и 3-контактным разъемом по электросхеме на обрыв. контакт 1+гнездо 33 контакт 2+гнездо 8 контакт 3+гнездо 1;
Активное сопротивление линии: не более 1,5.
Буквенное обозначение двигателя AGD (с 80-контактым блоком управления), AHG, AKU
- Подключить адаптер -V.A.G 1598/22- к жгуту проводов блока управления двигателя;
- Проверить провода между адаптером -V.A.G 1598/22- и 3-контактным разъемом на обрыв согласно электросхеме. контакт 1+гнездо 69 контакт 2+гнездо 67 контакт 3 + гнездо 71;
Активное сопротивление линии: не более 1,5.
Продолжение описания работ для двигателей всех буквенных обозначений.
- Проверить также, нет ли короткого замыкания между проводами 3-контактного разъема;
Если неисправность в линиях не обнаружена:
- Заменить блок управления системы непосредственного впрыска дизельного двигателя -J248-;
- Проверить провода между адаптером -V.A.G 1598/22- и 3-контактным разъемом на обрыв согласно электросхеме. Контакт 1+гнездо 69 контакт 2+гнездо 67 контакт 3 + гнездо 71.
Вакансия автора, копирайтера на Etlib.ru
Если вы специалист в тематике, хотите писать и хорошо зарабатывать на этом, то добро пожаловать в команду! Платим выше рынка.
Присоединиться





Как проверить датчик коленвала?
Ошибка P0420: признаки, причины и устранение низкой производительности катализатора
Как проверить регулятор давления топлива
P0443 - ошибка клапана паров топлива
Плавают обороты на холодную
Проверка датчиков двигателя